Product Summary
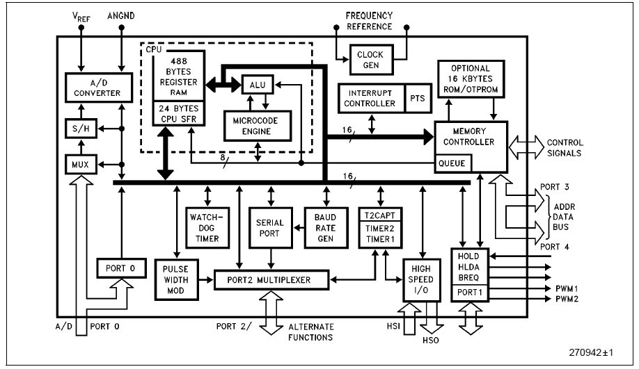
The EE80C196KC20 16-bit microcontroller is a high performance member of the MCSe 96 microcontroller family. The EE80C196KC20 is an enhanced 80C196KB device with 488 bytes RAM, 16 and 20 MHz operation and an optional 16 Kbytes of ROM/OTPR OM. Intel CHMOS III process provides a high performance processor along with low power consumption. In this document, the EE80C196KC20 will refer to all products unless otherwise stated. Four high-speed capture inputs are provided to record times when events occur. Six high-speed outputs are available for pulse or waveform generation. The high-speed output can also generate four software timers or start an A/D conversion. Events can be based on the timer or up/down counter.
Parametrics
EE80C196KC20 absolute maximum ratings: (1)Ambient Temperature Under Bias: -55° to +125℃; (2)Storage Temperature: -65° to +150℃; (3)Voltage On Any Pin to VSS: -0.5V to +7.0V(1); (4)Voltage from EA or VPP to VSS or ANGND: +13.00V; (5)Power Dissipation: 1.5W.
Features
EE80C196KC20 features: (1)16 and 20 MHz Available; (2)488 Byte Register RAM; (3)Register-to-Register Architecture; (4)28 Interrupt Sources/16 Vectors; (5)Peripheral Transaction Server; (6)1.4 ms 16 x 16 Multiply (20 MHz); (7)2.4 ms 32/16 Divide (20 MHz); (8)Powerdown and Idle Modes; (9)Five 8-Bit I/O Ports; (10)16-Bit Watchdog Timer; (11)Extended Temperature Available.
Diagrams

| Image | Part No | Mfg | Description | ![]() |
Pricing (USD) |
Quantity | ||||||
|---|---|---|---|---|---|---|---|---|---|---|---|---|
![]() |
![]() EE80C196KC20 |
![]() |
![]() IC MPU 16BIT 5V 20MHZ 68PLCC |
![]() Data Sheet |
![]() Negotiable |
|
||||||
| Image | Part No | Mfg | Description | ![]() |
Pricing (USD) |
Quantity | ||||||
![]() |
![]() EE80251B1-0000-A99 |
![]() Sunon Fans |
![]() FAN BRUSHLESS 12VDC 80X80X25MM |
![]() Data Sheet |
![]()
|
|
||||||
![]() |
![]() EE80251B1-000U-A99 |
![]() |
![]() FAN BRUSHLESS 12VDC 80X80X25MM |
![]() Data Sheet |
![]()
|
|
||||||
![]() |
![]() EE80251B2-0000-999 |
![]() Sunon Fans |
![]() FAN BRUSHLESS 12VDC 80X80X25MM |
![]() Data Sheet |
![]()
|
|
||||||
![]() |
![]() EE80251B2-000U-999 |
![]() |
![]() FAN BRUSHLESS 12VDC 80X80X25MM |
![]() Data Sheet |
![]()
|
|
||||||
![]() |
![]() EE80251B3-0000-999 |
![]() Sunon Fans |
![]() FAN BRUSHLESS 12VDC 80X80X25MM |
![]() Data Sheet |
![]()
|
|
||||||
![]() |
![]() EE80251B3-000U-999 |
![]() |
![]() FAN BRUSHLESS 12VDC 80X80X25MM |
![]() Data Sheet |
![]()
|
|
||||||
(China (Mainland))










